
產品展示
日標不銹鋼球閥廣泛應用于:化工、石化、石油、造紙、采礦、電力、液化氣、食品、制藥、給排水、市政、機械設備配套、電子工業城建等領域。
產品詳情
日標不銹鋼球閥分類
球閥按結構形式可分:
一、浮動球球閥
球閥的球體是浮動的,在介質壓力作用下,球體能產生一定的位移并緊壓在出口端的密封面上,保證出口端密封。
浮動球球閥的結構簡單,密封性好,但球體承受工作介質的載荷全部傳給了出口密封圈,因此要考慮密封圈材料能否經受得住球體介質的工作載荷。這種結構,廣泛用于中低壓球閥。
二、固定球球閥球體是固定的,受壓后不產生移動。固定球球閥都帶有浮動閥座,受介質壓力后,閥座產生移動,使密封圈緊壓在球體上,以保證密封。通常在與球體的上、下軸上裝有軸承,操作扭距小,適用于高壓和大口徑的閥門球閥的。
三、彈性球球閥
閥的球體是彈性的。球體和閥座密封圈都采用金屬材料制造,密封比壓很大,依靠介質本身的壓力已達不到密封的要求,必須施加外力。這種閥門適用于高溫高壓介質球。
日標不銹鋼球閥工作原理
A、開啟過程
1在關閉位置,球體受閥桿的機械施壓作用,緊壓在閥座上。
2當逆時針轉動手輪時,閥桿則反向運動,其底部角形平面使球體脫開閥座。
3閥桿繼續提升,并與閥桿螺旋槽內的導銷相互作用,使球體開始無摩擦地旋轉。
4直至到全開位置,閥桿提升到極限位置,球體旋轉到全開位置。
B、關閉過程
1關閉時,順時針旋轉手輪,閥桿開始下降并使球體離開閥座開始旋轉。
2繼續旋轉手輪,閥桿受到嵌于其上螺旋槽內的導銷的作用,使閥桿和球體同時旋轉90?。
3 快要關閉時,球體已在與閥座無接觸的情況下旋轉了90?。
4手輪轉動的幾圈,閥桿底部的角形平面機械地楔向壓迫球體,使其緊密地壓在閥座上,達到完全密封。
日標不銹鋼球閥特點
1、啟閉無摩擦。這一功能完全解決了傳統[wiki]閥門[/wiki]因密封面之間相互摩擦而影響密封的問題。
2、上裝式結構。對裝在管道上的閥門可直接在線檢查與維修,能有效減少裝置停車,降低成本。
3、單閥座設計。避免了閥門中腔介質因異常升壓而影響使用an全的問題。
4、低扭矩設計。特殊結構設計的閥桿,只需配一個小手把閥門能輕松啟閉。
5、楔形密封結構。閥門是靠閥桿提供的機械力,將球楔壓到閥座上而密封,使閥門的密封性不受管線壓差變化的影響,在各種工況下密封性能都有可靠保證。
6、密封面的自清潔結構。當球體傾離閥座時,管線中的流體沿球體密封面成360?均勻通過,不僅避免了高速流體對閥座局部的沖刷,也沖走了密封面上的聚積物,達到自清潔的目的。
為了減少球閥的操作扭矩和增加密封的可靠程度,又出現了油封球閥,既在密封面間壓注特制的潤滑油,以形成一層油膜,即增強了密封性,又減少了操作扭矩,更適用高壓大口徑的球閥。
日標不銹鋼球閥安裝
1)取掉法蘭端兩邊的保護蓋,在閥完全打開的狀態下進行沖洗清潔。
2)安裝前應按規定的信號(電或氣)進行整機測試(防止因運輸產生振動影響使用性能),合格后方可上線安裝(接線按電動執行機構線路圖)。
3)準備與管道連接前,須沖洗干凈管道中殘存的雜質(這些物質可能會損壞閥座和球)。
4)在安裝期間,請不要用閥的執行機構部分作為起重的吊裝點,以避免損壞執行機構及附件。
5)本類閥應安裝在管道的水平方向或垂直方向。
6)安裝點附近的管道不可有低垂或者承受外力的現象,可以用管道支架或者支撐物來避免管線的偏離。
7)與管道連接后,請用規定的扭矩交叉鎖緊法蘭連接螺栓
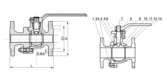
日標不銹鋼球閥結構圖及參數表


上一條:不銹鋼美標球閥
下一條:Q41F-40不銹鋼國標球閥
相關信息
在線留言